
HYUNDAI BANGUNKAN ENJIN DENGAN NISBAH MAMPATAN BOLEH UBAH.
Dalam dunia automotif hari ini, kebanyakan pengeluar sudah beralih kepada kenderaan elektrik. Namun di sebalik revolusi ini, pengeluar seperti Hyundai masih belum berhenti berinovasi dalam enjin pembakaran dalaman.
Dalam perkembangan terbaru, Hyundai memfailkan satu paten yang menunjukkan pembangunan enjin dengan teknologi variable compression ratio (VCR) generasi baharu sebagai satu langkah yang berpotensi menjadikan enjin petrol lebih efisien tanpa mengorbankan prestasi.
Teknologi ini bukan sekadar penambahbaikan kecil, tetapi satu pendekatan kejuruteraan yang cuba menyelesaikan dilema klasik dalam dunia enjin: bagaimana untuk mendapatkan kuasa tinggi tanpa mengorbankan penjimatan bahan api.
Untuk memahami kepentingan teknologi ini, kita perlu terlebih dahulu faham dengan konsep asas enjin. Nisbah mampatan (compression ratio) merujuk kepada sejauh mana campuran udara dan bahan api dimampatkan dalam silinder sebelum pembakaran berlaku.

Dalam enjin konvensional, nisbah ini adalah tetap. Ini bermaksud jurutera perlu memilih sama ada mahu menggunakan nisbah mampatan tinggi untuk kecekapan termodinamik yang tinggi atau merendahkan nisbah mampatan untuk enjin beroperasi dengan sistem turbo
Dengan teknologi ini, enjin boleh mengubah nisbah mampatan secara automatik, bergantung kepada keadaan pemanduan. Ketika pemanduan santai, nisbah mampatan boleh dinaikkan untuk menjimatkan bahan api. Apabila kuasa diperlukan, nisbah mampatan boleh diturunkan untuk mengelakkan masalah knocking dan membolehkan lebih boost daripada turbo.
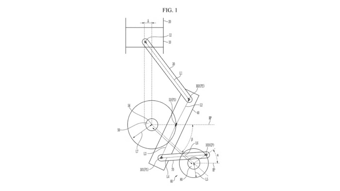
Apa yang membezakan Hyundai daripada pesaing lain adalah pendekatan mereka yang lebih fleksibel. Berdasarkan paten yang difailkan bersama syarikat Kia, Hyundai sedang meneroka dua sistem berbeza untuk mencapai fungsi VCR.
Pendekatan pertama melibatkan perubahan pada geometri dalaman enjin, khususnya hubungan antara piston dan crankshaft. Dengan mengubah kedudukan relatif komponen ini, isipadu kebuk pembakaran boleh diubah, sekaligus menukar compression ratio secara mekanikal.

Pendekatan kedua pula menggunakan sistem linkage tambahan yang membolehkan kawalan lebih baik terhadap pergerakan dalaman enjin. Sistem ini berpotensi memberikan operasi yang lebih lancar serta ketahanan jangka panjang yang lebih baik, selain mungkin lebih mudah diintegrasikan ke dalam platform enjin sedia ada.
Sebenarnya, syarikat Hyundai bukan yang pertama mencuba teknologi ini. Nissan melalui jenama premiumnya Infiniti telah pun memperkenalkan enjin VCR dalam model seperti Infiniti QX50.
Namun, teknologi tersebut datang dengan cabaran tersendiri seperti sistem enjin kompleks, kos pengeluaran tinggi, dan dalam jangka panjang, terdapat persoalan tentang ketahanan komponen yang sentiasa bergerak dan berubah posisi.
Malah syarikat Saab pernah mencuba konsep enjin dengan compression boleh ubah, tetapi tidak berjaya dikomersialkan secara meluas kerana kos dan kawalan enjin yang terlalu rumit.
Buat masa sekarang banyak pasaran global masih bergantung kepada enjin pembakaran dalaman. Keadaan ini disebabkan oleh infrastruktur EV belum cukup meluas, dan harga kenderaan elektrik masih belum mampu milik untuk semua.
Dalam konteks ini, teknologi seperti VCR boleh menjadi penghubung yang mengurangkan penggunaan bahan api dan emisi tanpa perlu beralih sepenuhnya kepada elektrik. Tambahan pula, enjin yang lebih efisien juga sangat penting untuk sistem hibrid, yang masih menggunakan enjin petrol sebagai komponen utama.



