
HYUNDAI BANGUNKAN SISTEM AMARAN JARAK JAUH DENGAN PENGELAP CERMIN DEPAN
Hyundai merupakan antara syarikat automotif yang giat membangunkan pelbagai teknologi terkini bagi memastikan mereka kekal berdaya saing. Sebagai bukti mereka berusaha menghasilkan pelbagai kenderaan berkuasa elektrik atas jenama Hyundai, sub jenama Ioniq, membangunkan bahan api sintetik, dan juga teknologi robot
Terkini, Hyundai didapati sedang giat membangunkan teknologi keselamatan terkini yang berasaskan pengelap cermin depan berdasarkan penemuan paten secara tidak sengaja oleh laman sesawang CarBuzz. Paten ini merujuk kepada usaha Hyundai bagi memastikan keselamatan pengguna jalan raya jika kenderaan Hyundai tidak bergerak di tepi jalan
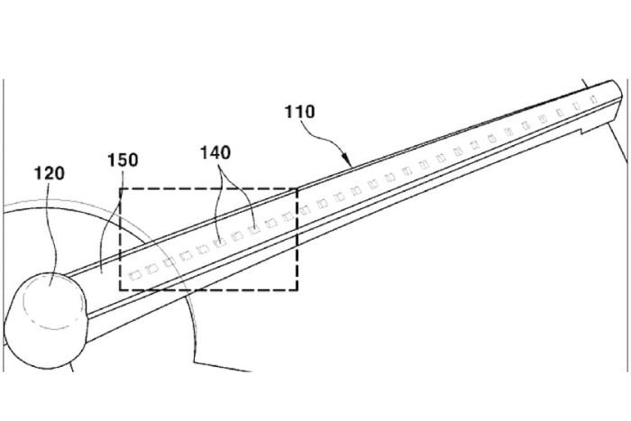
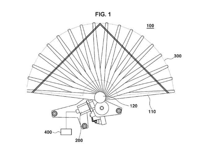
Fail paten tersebut ditemui pada bulan Jun 2021 bertajuk “Peralatan bagi menunjukkan keadaan kereta dengan pengelap cermin”. Fail ini menerangkan Hyundai membayangkan pengelap cermin depan yang digabungkan dengan LED, alat pemantul cahaya, dan motor pengelap cermin depan khas yang bertujuan memudahkan kenderaan Hyundai dilihat jika ia diparkir di tepi jalan raya sibuk

Gabungan perlatan ini membolehkan Hyundai berinovasi dengan menghasilkan cahaya berwarna-warni akan dipancarkan pada cermin depan dan juga belakang dengan amaran yang sesuai. Keadaan ini akan memberi amaran yang secukupnya kepada pengguna jalan raya lain tentang kewujudan Hyundai di lokasi berkenaan
Amaran cahaya ini juga berupaya dianamasikan seperti papan tanda iklan. Hyundai berpendapat kaedah ini lebih selamat berbanding pemandu perlu memasang tanda amaran 3 segi di atas jalan raya sekiranya kereta mengalami kerosakan
Fail inovasi ini juga menerangkan pengelap cermin ini berupaya memancarkan pelbagai amaran kepada pelbagai jarak secara serentak yang akan memudahkan pengguna jalan ray lain berjaga-jaga. Secara tidak langsung oemandu tidak perlu merisikokan keselamatan mereka dengan memasang papan tanda amaran 3 segi

Kajian mendapati pengguna jalan raya mudah tertarik dengan amaran berkelip-kelip berbanding dengan amaran statik. Jadi amaran dengan cahaya dan animasi ini membolehkan pengguna jalan ray lain bersedia secukupnya sebelum menghampiri lokasi kenderaan Hyundai yang mengalami kerosakan.

