
LAKARAN TERKINI SUZUKI GSX-R750 DAN GSX-R1000 SUPERCHARGE
Dunia motosikal dengan perlumbaan memang berpisah tiada. Bukan hanya terhad kepada pemilik motosikal tetapi boleh dikatakan para pengeluar juga sentiasa berlumba untuk mengeluarkan produk terbaru.
Satu perkara yang pasti, para pengeluar sentiasa bersaing untuk mengeluarkan motosikal paling laju. Hari ini rekod itu dipegang oleh Kawasaki dengan H2R mereka, namun kini Suzuki akan menggugat dengan 2 model terbaru untuk pasaran 2017. Kedua-dua model ini dikatakanakan dilengkapi dengan enjin supercharge buat pertama kalinya.
Nampaknya kesedihan kaki-kaki motor Malaysia termasuk saya sendiri kerana penamatan operasi kilang Suzuki di Malaysia bakal terubat dengan pengenalan model baru ini. (Padahal saya pernah pakai RG Sports je pun).
Berdasarkan beberapa set lakaran rasmi dari Suzuki, terbukti superbike baru Suzuki ini akan dilengkapi dengan sistem induksi paksa (force induction). Sebenarnya usaha Suzuki untuk menggabungkan sistem supercharge kepada model terbaru mereka sudah lama kami dengar. Tetapi sebelum ini ia dikatakan khusus untuk model Hayabusa baru 1400cc dan Suzuki Recursion 600cc, sebuah cafe racer moden. Ini merupakan kali pertama sepengetahuan kami yang ia secara rasminya akan turut dilengkapkan pada barisan model GSX-R.
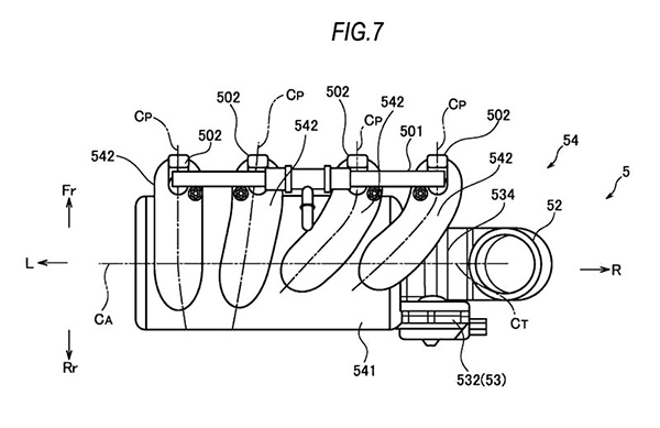
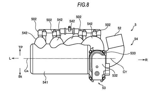
Selain daripada pelbagai ciri tambahan pada nadi baru ini (rujuk kepada lakaran 7 dan 8), kedudukan supercharger ditandakan dengan nombor 532 dan tiub kemasukan dengan nombor 52. Inilah lakaran rasmi daripada Suzuki yang menunjukkan teknologi ini memang akan diaplikasikan pada enjin baru.
Paparan sebelah kanan model GSX-R750 menunjukkan ia akan mempunyai ruang kemasukan udara baru di bahagian hadapan untuk mengalirkan sejumlah besar udara ke ruang kompresor. Memang secara logiknya model 750cc ini turut dilengkapi dengan supercharger memandangkan model lain turut mendapat manafaat anjakan kuasa yang lebih baik.
Secara keseluruhannya, pasaran model 600cc dan 750cc telah menurun sedikit dan dengan penggunaan supercharger diharapkan model 750cc akan kembali menyerlah seperti dahulu (model 750 akan diteruskan pengeluaran kerana ia merupakan model superbike Suzuki yang paling berjaya dan mempunyai sejarah yang cukup panjang.
Lakaran yang lagi satu merupakan gambaran GSX-R1000 yang juga bakal diberikan enjin supercharge sama seperti model 750cc.
Satu perkara yang sudah pasti, ramai para penulis permotoran cukup yakin dengan pembangunan Hayabusa baru dengan enjin 1400cc. Gambaran agak kabur diedarkan sejak 6 bulan lepas tentang Hayabusa baru. Bahagian luarnya masih mengekalkan garisan selari seperti model terdahulu untuk fungsi aerodinamik. Hasil yang sebenar akan diketahui apabila ia dilancarkan secara rasmi. Pertembungan Suzuki dan Kawasaki dalam menghasilkan superbike paling laju memang cukup dinanti-nantikan.
Beberapa sumber dari Jepun cukup yakin bahawa Hayabusa baru ini akan diberikan enjin 1400cc dengan pengecas turbo. Jika benar maka ini membuktikan bahawa Suzuki benar-benar serius mahu merampas kembali gelaran motosikal paling laju di dunia.
Diagram motosikal bahagian sisi kiri pula merupakan gambaran GSX-R1000 terbaru. Namun jika diperhatikan paip ekzosnya terletak di sebelah kiri. Ramai meramalkan sama ada paip ekzosnya dialih ke sebelah kiri ataupun ia kekal menggunakan sistem dua ekzos kiri dan kanan seperti model 2007 hingga 2012. Kemudian ia kembali menggunakan sistem ekzos tunggal sehingga sekarang.
Fanatik Yamaha, Honda dan Kawasaki mesti tidak senang duduk selepas ini. Suzuki, sebuah nama kecil dalam arena MotoGP moden telah berjaya mencatatkan kemenangan bergaya dalam perlumbaan pusingan di Britain baru-baru ini. Jika lakaran baru ini jadi kenyataan, ia benar-benara anjakan paling besar Suzuki dalam sejarah pembuatan motosikal mereka. Ya. Honda baru sahaja umumkan bersara dari pasaran 600cc.












